Jan 29 , 2023
Heutzutage sind Faserlaser-Rohrs chneide maschinen auf dem Markt sehr verbreitet. Wir wählen sie durch hohe Geschwindigkeit, hohe Präzision und höhere Flexibilität usw. Aber wir wissen auch, dass es so viele Arten von Röhren auf dem Markt gibt.
Material typ: Kohlenstoffs tahl, Edelstahl, Aluminium usw.
Dicke: 1-10mm oder sogar höher
Länge: normaler weise 6 Meter, aber manchmal auch 7M 8M, 9M und sogar 12m
Größe: Einige Rohre sind sehr klein, die runden Durchmesser nur um 10mm, aber einige Rohre sind sehr groß, sogar bis zu 350mm, und vielleicht mehr als das.
Normaler weise berechnen wir die Durchmesser anhand ihrer diagonalen Größe.
Nehmen Sie ein Beispiel, die quadratische Rohr größe ist 1*1mm, also sind es Durchmesser, die wir wie 1 berechnen müssen212= 2, dann Quadrat 2 = ✔ 2 = 1,414
So quadratischer Rohr durchmesser, der Durchmesser ist 1.414
Und C-Typ (Kanal röhre) und "L" sind die gleiche Art und Weise, um die Durchmesser zu berechnen.
Art der Röhren: Rund, quadratisch, L, C (Kanal), Dreieck, flach usw.
Fertige Länge: Manchmal ist die In-Feed-Länge des Kunden 8m, aber die fertige Rohrlänge ist auch 8m, also müssen wir auch diese Art von Option in Betracht ziehen, sobald wir dieMetallrohr-Schneide laser maschine.
Schwanz Material länge: Dies ist ein Artikel, den alle Kunden nicht vermeiden können. Wie man das Schwanz material bildet, kann aus dem Bild unten verstanden werden
Gewicht der Länge: Es ist die Ergebnisse unter Berücksichtigung der Länge, Dicke, Material art und Größe, dann können wir das Gewicht berechnen, wie wir wissen, sind die Spannfutter pneumatische Klemmen, die Lade fähigkeit ist begrenzt, die Chucks können nicht funktionieren, sobald das Gewicht mehr als die Chuck-Fähigkeit ist
Die oben genannten Elemente sind die grundlegenden Elemente, die wir wissen müssen, wegen der Art derBlatt-und Rohrlaser-Schneide maschineMüssen wir die oben genannten Punkte berücksichtigen.
Leistung: Wir müssen die Dicke des Materials berücksichtigen, Art des Materials, es ist das gleiche wie Platten schneiden, höhere Leistung definitiv eine höhere Geschwindigkeit zusammen mit guter Oberfläche
Länge: Wir müssen die Rohrlänge berücksichtigen, wenn die Rohrlänge nur 6M ist, unserEdelstahl-Rohrlaser-Schneide maschineMindestens 6 Meter, und wenn unsere Rohrlänge 8 M ist, 6 M für die Rohrs chneide maschinen ist nicht genug, müssen wir 8 m Rohrs chneide maschinen wählen
Chuck-Durchmesser: Wie die oben genannten Artikel, wenn unsere Rohre sehr klein sind, nehmen Sie Beispiel, der maximale Durchmesser ist nur 200mm, unser Chuck-Durchmesser ist Mindestens 200mm, aber wenn der Rohr durchmesser mehr als 300mm ist, sind definitiv 200mm nicht genug, wir müssen einen 300 oder 320 oder 350mm Chuck wählen Durchmesser
Chuck-Fähigkeit: Normaler weise ist der übliche Typ auf dem Markt 6020, und die Lade fähigkeit ist um 160kgs, aber wenn das Rohr gewicht sogar mehr als 160kgs ist, können die Maschinen nicht drehen, die Maschine kann nicht arbeiten
Dann sind die restlichen Gegenstände auf die fertige Länge und das tailing Material, wir müssen den Unterschied zwischen 2 Chucks und 3 Chucks verstehen


Es ist sehr leicht zu verstehen, dass 2 Chucks nur 2 Chucks, die linken Chucks und die mittleren Chucks
Aber 3 Chucks haben 3 Chucks, die linken Chucks und mittleren Chucks und die rechten Chucks
Also ist es wirklich notwendig, dass noch ein Futter hinzugefügt wird? Ist es nützlich oder nicht? Wir müssen es eins nach dem anderen vergleichen
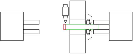
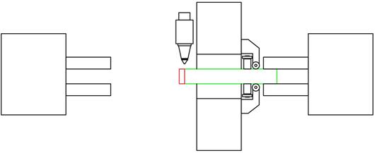
Wie man sich bildet

Wie das Bild oben zeigt: Die Bereiche für die linke Seite des Kopfes, die mittleren Klemmen und die rechte Klemmen kralle sind der blinde Bereich, in dem der Schneidkopf nicht schneiden kann. der rote Teil, den wir als tailing Material bezeichnen.
Die Länge des tailing Materials von verschiedenenHersteller von Laser-Rohr-Schneide maschinenIst anders, nur weil die Länge durch rechte Klemmen Unterschied, normaler weise 160-200mm

Wie im rechten Bild gezeigt, führen die linken Klemmen normaler weise das Rohr in das mittlere Spannfutter, sobald sich die rechten Klemmen öffnen. Derzeit muss der Laser kopf nur eine Kollision mit den richtigen Klemmen vermeiden, um die Ergebnisse zu erzielen, um Abfall material zu reduzieren
Vorteile: Die Lösung ist einfach und leicht zu vervollständigen.
Die Länge des tailing Materials kann durch vereinfachte Überarbeitung auf 80mm reduziert werden
Nachteile: Nur für kleine Rohre, dünne Material rohre Wenn schwere Rohre, lange Rohre, das Finish und die Präzision nicht zusammen treffen können
1. nisting tailing material ist mehr als 200mm

Die Maschinen werden nach den Standard-2-Spann-Modellen geschnitten, das dritte Spannfutter wird als Set festgeklemmt
Das tailing material ist 200mm
2. Nesting-tailing-Material weniger als 200mm, mehr als 80mm und Endprodukt länge mehr als 900mm

Das mittlere Spannfutter bewegt sich zur rechten Seite, der Laser kopf schneidet, sobald das rechte klemmt Das Heer material ist 80mm
3. nisten tailing material weniger als 80mm, die endgültige produkt länge mehr als 900mm

Das mittlere Spannfutter bewegt sich zur rechten Seite, die linken Seiten klemmen öffnen sich, der Laser kopf schneidet die End plätze ab
Das tailing Material ist 0-5mm
1. die tailing Material länge mehr als 200mm, 2 Chuck Modell ist verfügbar und stellen Sie sicher, dass die Präzision
2. die tailing material länge weniger als 200mm, mehr als 80mm, und die endgültige produkt länge ist mehr als 900mm, und kann sich vergewissern
Die Präzision
3. die tailing länge ist weniger als 80mm und die endgültige produkt länge mehr als 900mm, und stellen sie sicher, dass die '0' tailing schneiden
1. Benötigen Sie die endgültige Rohrlänge mehr als 900mm, um das dritte Spannfutter zu ermöglichen. Wenn weniger als 900mm, ist das dritte Spannfutter im Leerlauf
2. Sobald das 0-Tailing-Material geschnitten ist, hat es möglicher weise einmal die Präzision verloren, um die Durchmesser von weniger als 100mm durch seinen langen Abstand vom unteren Teil zu den Klemmen zu schneiden
1. Die Probleme beim Hoch leistungs rohrs ch neiden

Einmal, um Hoch leistungs rohre zu schneiden, die grünen Teile wie das obige Bild zu lange hängen, wird das Eigengewicht eine große Kraft haben, die durch die Klemmen nicht neutralisieren kann. Die hängenden Rohre senken sich ab und rutschen auch aus den Klemmen, sobald sie sich hin und her bewegen, um ein Ergebnis des Fehlers ch neidens zu haben
Kann diese Art von Problemen auch nicht durch schwimmende Unterstützung lösen
Nach oben genannten Punkten, also können wir vielleicht sehr einfach die Vor-und Nachteile für die 3 Chucks kennen, müssen wir zuerst verstehen, dass die Kunden zuerst brauchen
3 Chucks sind definitiv eine gute Wahl, aber die Kosten sind definitiv höher, wenn Sie ein zusätzliches Futter hinzufügen

Oben sind die grundlegenden Details für die Röhren, eigentlich in realen Produktionen, es ist komplizierter durch seine unterschied liche Anforderung
1) Wenn die Rohre nicht gerade sind, ist es möglich zu schneiden und wie kann auch die Präzision sicherstellen?
2) Normaler weise haben die Rohre Schweiß linien, ist es möglich, die Schweiß linien zu vermeiden?
3) Ist es möglich, sicher zustellen, dass die innere Oberfläche einmal sauber ist, um den Edelstahl zu schneiden, der für die Lebensmittel industrie verwendet wird?
4) Das Absenkung schneiden in China ist stabil oder nicht, wenn es mit BLM Italien verglichen wird
5) Auto lader ist für alle Rohre geeignet? Und wenn Hoch leistungs rohre, wie man die Rohre lädt und wie man die Rohre entlädt?
6) 4 Chucks Rohrs chneide maschine sind wirklich notwendig?
7) Immer mehr Fragen gibt es
Remcor, ein profession eller Anbieter mit 18 Jahren Erfahrung in der Laser industrie, können wir die schlüssel fertigen Linien für die Lasers chneid linien bereitstellen, indem wir die fertigen Linien wie Fräsmaschinen, CNC-Bearbeitungs zentren usw. importieren.
Wir freuen uns, Ihre Anfragen zu erhalten und suchen den Distributor weltweit, danke.
This is the last one.